Portable Dust Collector
Portablex Dust Extractor

Portablex Portable Dust Extractor fills the gap between low efficiency exposed-bag dust collector and fixed installation big scale dust collector. With airflow capacity of 2,600m3/hr, It is the highest capacity a dust collector can practically be made portable.
Portablex has the efficiency, structural design and filter cleaning mechanism of a fixed installation dust collector. Unlike off-the-shelf dust collector with exposed bag, Portablex is built-in with high efficiency cartridge filters, and comes with pulse jet filter cleaning system.
With the blower fan seated at lower position, Portablex has excellent stability and low vibration.
It is designed with meticulous attention to detail, for strong performance and durable service.
Specification :
| Dimension | : | 1297mm x 965mm x 1556mm (H) |
| Airflow | : | 2,600m3/hr |
| Static pressure | : | 200mmWG |
| Total filter area | : | 24m2 |
| Filtration efficiency | : | 99.9% filtration efficiency for particulate size above 5μm. |
| Dust drawer capacity | : | 44 liters |
| Power | : | 3kw/ 415V / 2Pole/ 50Hz |
| Compressed air consumption | : | 10cfm , 6bar clean and dry air. |
| Weight | : | 320kg |
Application :
- Connect to flexible hose for suction adjacent to Portablex position
- Attach with flexible suction arm
- Duct connection from Portablex to dust source
- For suction from well-confined, zoom-in dust source, 1 Portablex has airflow enough for 3 dust suction points.
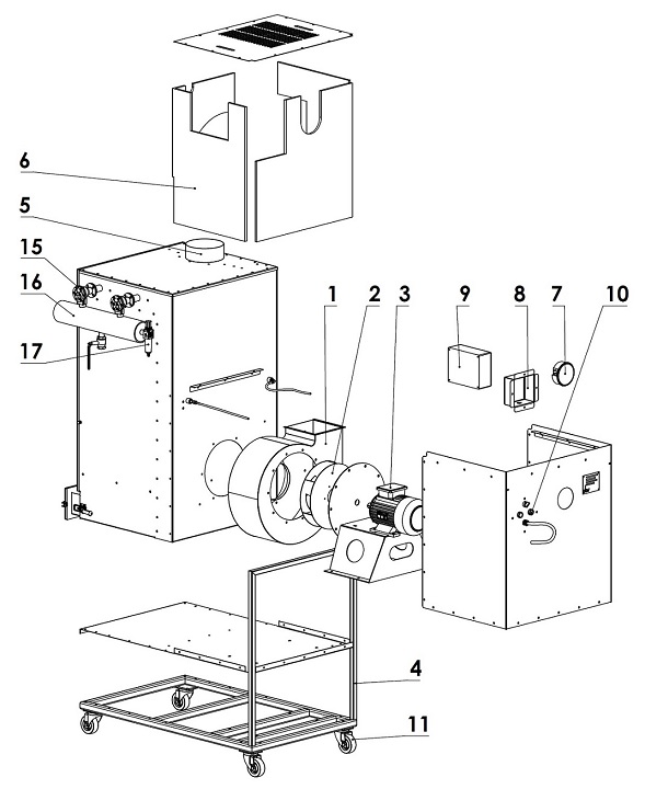
Component Description :
1. Centrifugal blower fan casing.
2. Fan impeller, centrifugal backward curve fan.
3. Electric motor.
4. Trolley
5. Suction inlet
6. Acoustic insulation / absorber
7. Pressure differential gauge / manometer
8. Starter box
9. Filter pulse jet cleaning sequential controller
10. Start / stop switch and pulse jet switch
11. 4inch castor wheels. 2 units swivel with brake, 2 units swivel without brake
12. Dust drawer
13. Cartridge filter, 4 nos.
14. Purging blow tube, 2 nos.
15. Purging valves, 2 nos.
16. Purging pressure header.
17. Filter regulator.
Option 1:

Single 200mm diameter suction inlet

2 nos of 150mm diameter suction inlets

Combination of single 150mm diameter and 2 nos of 100mm diameter suction inlets
Option 2 : Anti-static filters, instead of standard polyester spunbond filters
Option 3 : Attach with flexible suction arm.